기술이전센터에서 보유하고 있는 지재권을 자세히 소개해드립니다
| 기술명 |
압력제어식 저온 열분해장치 및 이를 이용한 유기성 폐기물 처리방법 |
|
||
| 권리구분 | 특허 | |||
| 출원인 | 건국대학교 산학협력단,세종대 산학협력단,광주과학기술원 | |||
| 대표발명자 | 이름 | 소속학과 | 연구실 | |
| 조진우 | 환경에너지공간융합학과 |
|
||
| 대표연구분야 | 하폐수고도처리 분리막 이용 수처리 막증발법 이용 담수화 폐자원 바이오가스화 수처리시스템 개발 | |||
| 출원번호 | 10-2017-0096078 | 등록번호 | 10-1945626 | |
| 출원일 | 2017-07-28 | 등록일 | 2019-01-29 | |
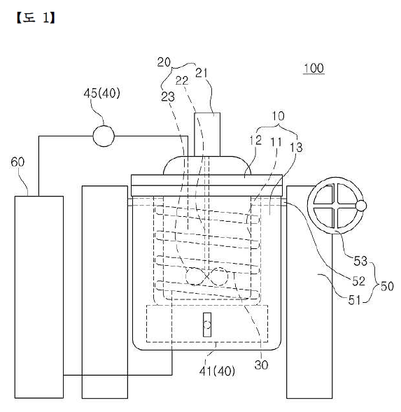
| 특허원문 | -유기성 폐기물 가열시 유기물 폐기물의 열분해시 저장해두었던 고온고압 증기 공급하여 유기성 폐기물 가열시간 단축, 에너지 손실 최소화 |
|
||
| 상세기술정보 1 | 기술명 | 기술요약 | ||
| 등록된 자료가 없습니다. | ||||
| 기술분류(대) | 환경 | 기술분야 | 환경·에너지·원자력 | |
| 적용분야 | 유기성 폐기물 (음식물 쓰레기등) 처리 | |||
| 기술명 | |
|---|---|
|
압력제어식 저온 열분해장치 및 이를 이용한 유기성 폐기물 처리방법 |
|
| 권리구분 | 출원인 |
| 특허 | 건국대학교 산학협력단,세종대 산학협력단,광주과학기술원 |
| 대표발명자 | |
| 이름 | 소속학과 |
조진우
|
환경에너지공간융합학과 |
| 대표연구분야 | |
| 하폐수고도처리 분리막 이용 수처리 막증발법 이용 담수화 폐자원 바이오가스화 수처리시스템 개발 | |
| 출원번호 | 등록번호 |
| 10-2017-0096078 | 10-1945626 |
| 출원일 | 등록일 |
| 2017-07-28 | 2019-01-29 |
| 특허원문 | |
| -유기성 폐기물 가열시 유기물 폐기물의 열분해시 저장해두었던 고온고압 증기 공급하여 유기성 폐기물 가열시간 단축, 에너지 손실 최소화 | |
| 상세기술정보 | |
| 기술명 | 기술요약 |
| 등록된 자료가 없습니다. | |
| 기술분야 | 적용분야 |
| 환경·에너지·원자력 | 유기성 폐기물 (음식물 쓰레기등) 처리 |