기술이전센터에서 보유하고 있는 지재권을 자세히 소개해드립니다
| 기술명 | 
								 적층형 히트파이프가 구비된 열교환기 및 이를 이용한 냉각 시스템  | 
							
								 | 
						||
| 권리구분 | 특허 | |||
| 출원인 | 세종대 산학협력단 | |||
| 대표발명자 | 이름 | 소속학과 | 연구실 | |
| 정해용 | 원자력공학과 | 
								
									
										 
										 
									
								
							 | 
						||
| 대표연구분야 | 원자로 열수력 및 안전성 평가 | |||
| 출원번호 | 10-2018-0167092 | 등록번호 | 10-2154069 | |
| 출원일 | 2018-12-21 | 등록일 | 2020-09-03 | |
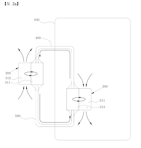
| 특허원문 | 본 발명은 적층형 히트파이프가 구비된 열교환기 및 이를 이용한 냉각 시스템에 관한 것이다 고온 공간의 내부에 제1적층형히트파이프부가 구비되고 고온 공간의 외부에 제2적층형히트파이프부가 구비된 상태에서 제1적층형히트파이프부와 제2적층형히트파이프부 사이의 열교환이 이루어지도록 함으로써 고온 공간 내부의 열을 고온 공간의 외부로 배출시키도록 구성 | 
								
								
									 
								
							 | 
						||
| 상세기술정보 1 | 기술명 | 기술요약 | ||
| 등록된 자료가 없습니다. | ||||
| 기술분류(대) | 기계 | 기술분야 | 기계·우주·항공 | |
| 적용분야 | 열교환기 | |||
| 기술명 | |
|---|---|
| 
								 적층형 히트파이프가 구비된 열교환기 및 이를 이용한 냉각 시스템  | 
						|
| 권리구분 | 출원인 | 
| 특허 | 세종대 산학협력단 | 
| 대표발명자 | |
| 이름 | 소속학과 | 
								정해용
								
									
										 
									
								
							 | 
							원자력공학과 | 
| 대표연구분야 | |
| 원자로 열수력 및 안전성 평가 | |
| 출원번호 | 등록번호 | 
| 10-2018-0167092 | 10-2154069 | 
| 출원일 | 등록일 | 
| 2018-12-21 | 2020-09-03 | 
| 특허원문 | |
| 본 발명은 적층형 히트파이프가 구비된 열교환기 및 이를 이용한 냉각 시스템에 관한 것이다 고온 공간의 내부에 제1적층형히트파이프부가 구비되고 고온 공간의 외부에 제2적층형히트파이프부가 구비된 상태에서 제1적층형히트파이프부와 제2적층형히트파이프부 사이의 열교환이 이루어지도록 함으로써 고온 공간 내부의 열을 고온 공간의 외부로 배출시키도록 구성 | |
| 상세기술정보 | |
| 기술명 | 기술요약 | 
| 등록된 자료가 없습니다. | |
| 기술분야 | 적용분야 | 
| 기계·우주·항공 | 열교환기 |